A recently patented system suggests Disney may be considering leveraging machine learning to streamline security checks and shorten ride dispatch times.
Disney researches AI system to verify passenger safety

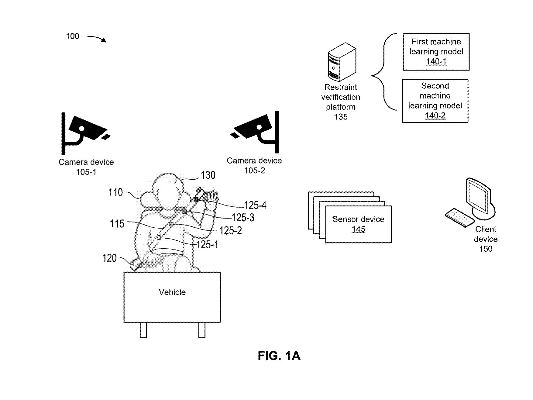
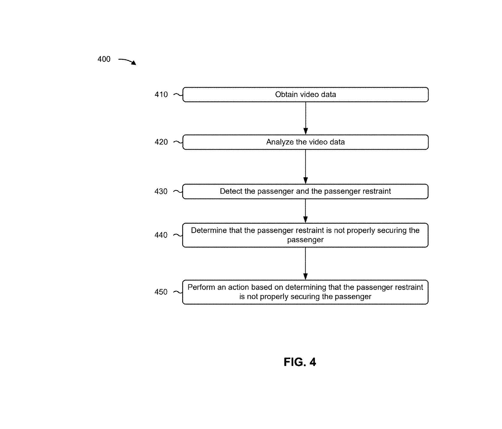
Disney has patented a new restraint check system that will ultimately help operators load and dispatch rides more efficiently by using cameras, sensors and machine learning to ensure guests are properly secured.

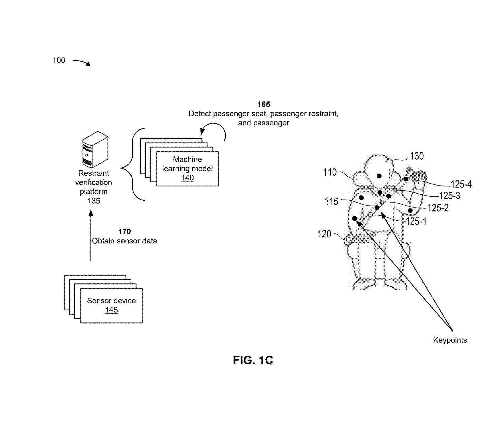
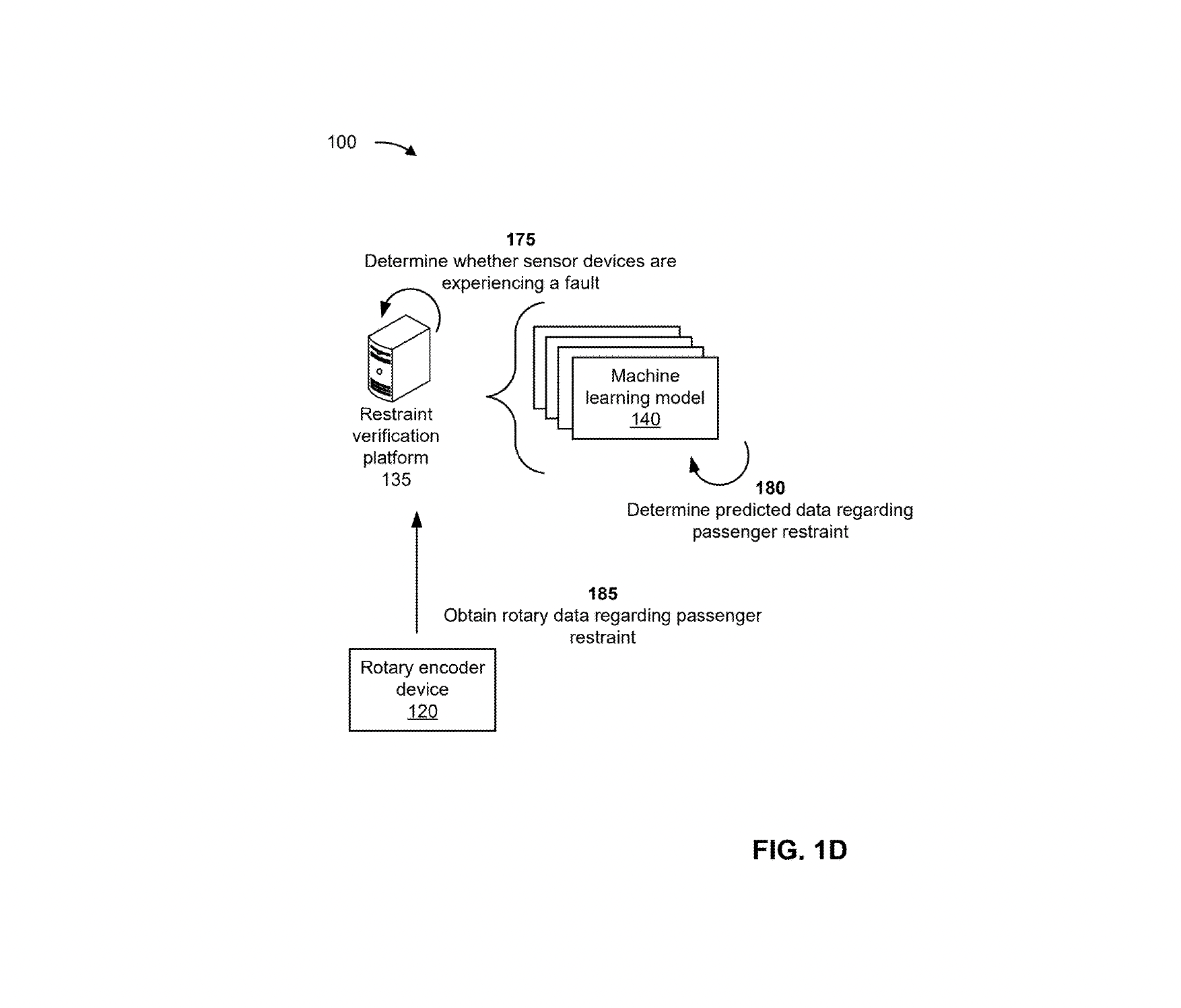
Its central idea is an AI-powered “restraint verification platform,” which consists of a machine learning model that collects various data points, such as live video and sensor feedback, to determine whether a rider is properly secured.
If the system determines that a restraint is not being used properly, it can trigger actions such as notifying an operator, preventing dispatch, or flagging an issue.
The system detailed in this patent is intended to correct errors that may occur during vehicle loading and operation, even with direct confirmation by an attendant cast member.
Even though the restraint is buckled, it may not actually be positioned correctly. The rider may sit on the belt. This can cause the belt to stretch in a way that compromises rider safety and comfort. Passengers may loosen, unbuckle, or move from a safe position after the initial check.

The system is designed to combine visual analytics and sensor data to capture those situations.
The restraint validation platform is also not limited to one type of restraint. The patent cites multiple forms of restraints, including seat belts, shoulder straps, wrap bars, belt buckles, vests, and “other examples.” This suggests that the validation process could work seamlessly with different forms of attractions such as coasters, dark rides, and tower rides.

Importantly, the platform does not rely on just one signal. The patent states that the verification process may include:
- A camera device placed around the passenger or passenger vehicle.
- A machine learning model trained to detect people, body parts, seats, belts, buckles, visible belt lengths, and restraint locations.
- Sensor devices such as seat sensors, clasp sensors, proximity sensors, rotary encoders, microphones, RFID devices, LIDAR, or other sensing hardware.
- Rotary encoder data to determine how far the belt or restraint is stretched.
- Comparison logic to determine if the restraint data matches what is shown in the video.


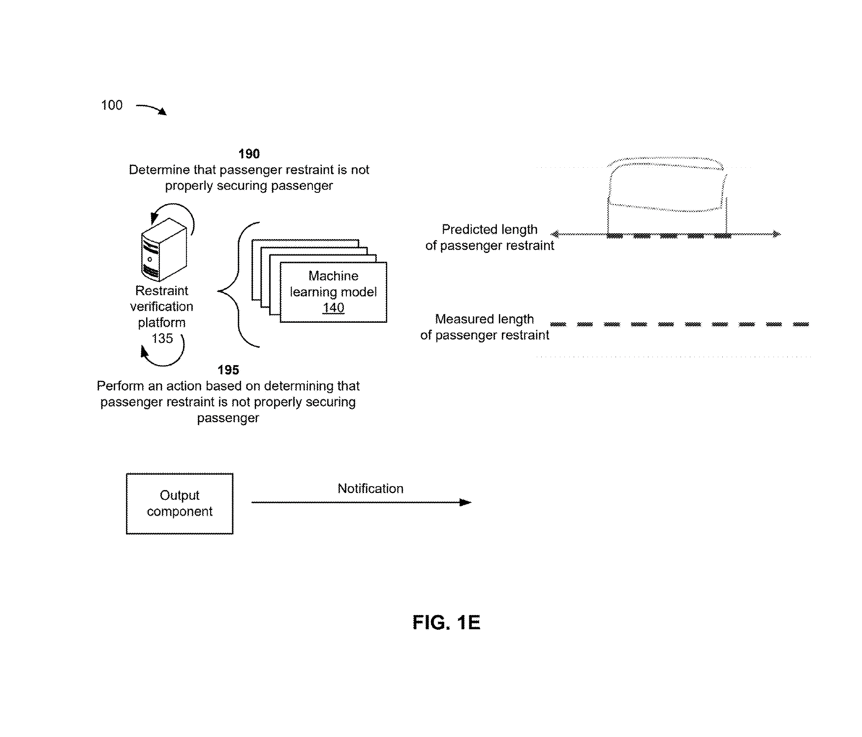
One example described in this patent is comparing the visible length of a passenger restraint predicted from camera footage to the measured length from a sensor or rotary encoder. If the two values do not match, the system may determine that the restraint is not properly securing the rider. For example, if the belt extends much further than the passenger can see, the rider may be sitting on part of the belt or using the belt improperly.
The purpose of this system appears to be twofold. It increases safety monitoring and reduces the time required for manual restraint checks.
Although this design is not tied to any specific attraction, it is broadly stated that the technology can be applied to most amusement park rides and other guest transportation systems.
As always, Disney patents do not guarantee that the technology will be installed in the parks. However, the filing suggests that Disney may be considering automated tools that could support ride operators, improve restraint validation, and potentially reduce delays during the loading process.
If this design comes to fruition, this could be the earliest hint of future AI integration at Disney parks.
What do you think about the possibility of Disney using your video data to train AI models? Do you have any concerns about this idea, or are you comfortable assuming that this system will actually benefit ride safety and rideability? Join the discussion with us on social media.
For the latest Disney Parks news and information, follow WDW News Today. TwitterFacebook, Instagram.
